Mercedes gatavo trīsvietīgu Smart
Smart ar trīs sēdvietām
Līdzības ar McLaren F1
Pārdošanā 2014. gadā

Atklātībā ir nonākuši vairāki patentēšanai iesniegti rasējumi, kuros redzams jaunais trīsvietīgais Smart, kas apliecina Mercedes centienus izveidot jaunu pilsētas auto.
Šī ir Mercedes atbilde uz Toyota IQ, kā arī BMW un Audi plāniem savu modeļu gammu papildināt ar maziem pilsētas auto.
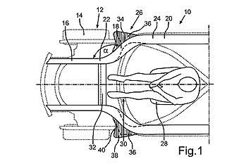
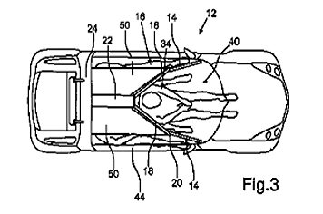
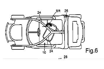
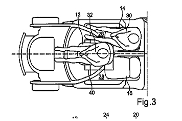
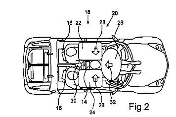
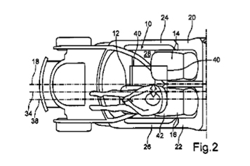
Rasējumi atklāj, ka līdzīgi kā leģendārajā superauto McLaren F1, arī jaunajā Smart paredzēts trīs sēdvietu izkārtojums, kur automašīnas vadītājs sēž pa vidu, bet abi pasažieri sānos un nedaudz vairāk uz aizmuguri. Šāds risinājums ir iespējams saglabājot esošo platformu ar aizmugurē novietotu dzinēju.
Seko Whatcar.lv jaunumiem Twitter!
Trīsvietīgais auto būs kā sportiska alternatīva ierastajam Smart Fortwo. Šinī brīdī gan oficiāla informācija nav pieejama, taču ziņotāji no Mercedes stāsta, ka jaunā auto nosaukums varētu būt Forthree un pārdošanā tas varētu parādīties 2014. gadā.
Rasējumos redzams, ka trīsvietīgajā salonā izmantoti interesanti risinājumi, lai atvieglotu pasažieru iekļūšanu automašīnā. Priekšējais sēdeklis ir grozāms un vajadzības gadījumā arī nobīdāms uz malu.
Jaunā Smart salona risinājumam tiks lietots jau esošās Smart kupejas drošības karkass. Tāpat domājams, ka Mercedes izmantos arī jaunus trīs cilindru benzīna un dīzeļa dzinējus, kurus iespējams aprīkos ar jaunu divsajūgu septiņu pārnesumu automātisko pārnesumkārbu.
Karstākie piedāvājumi auto tirgū! Nepalaid garām iespēju ietaupīt...